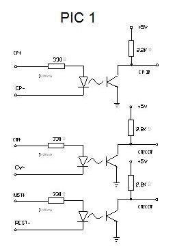
Stepper Drives
1837 Active
Data Group: 1837
SKU: 1141007
Weight (Kg): 2.0000
Decsription: CW-230
HS Code:
Applications:

©2003 KYSAN ELECTRONICS All Rights Reserved! www.kysanelectronics.com