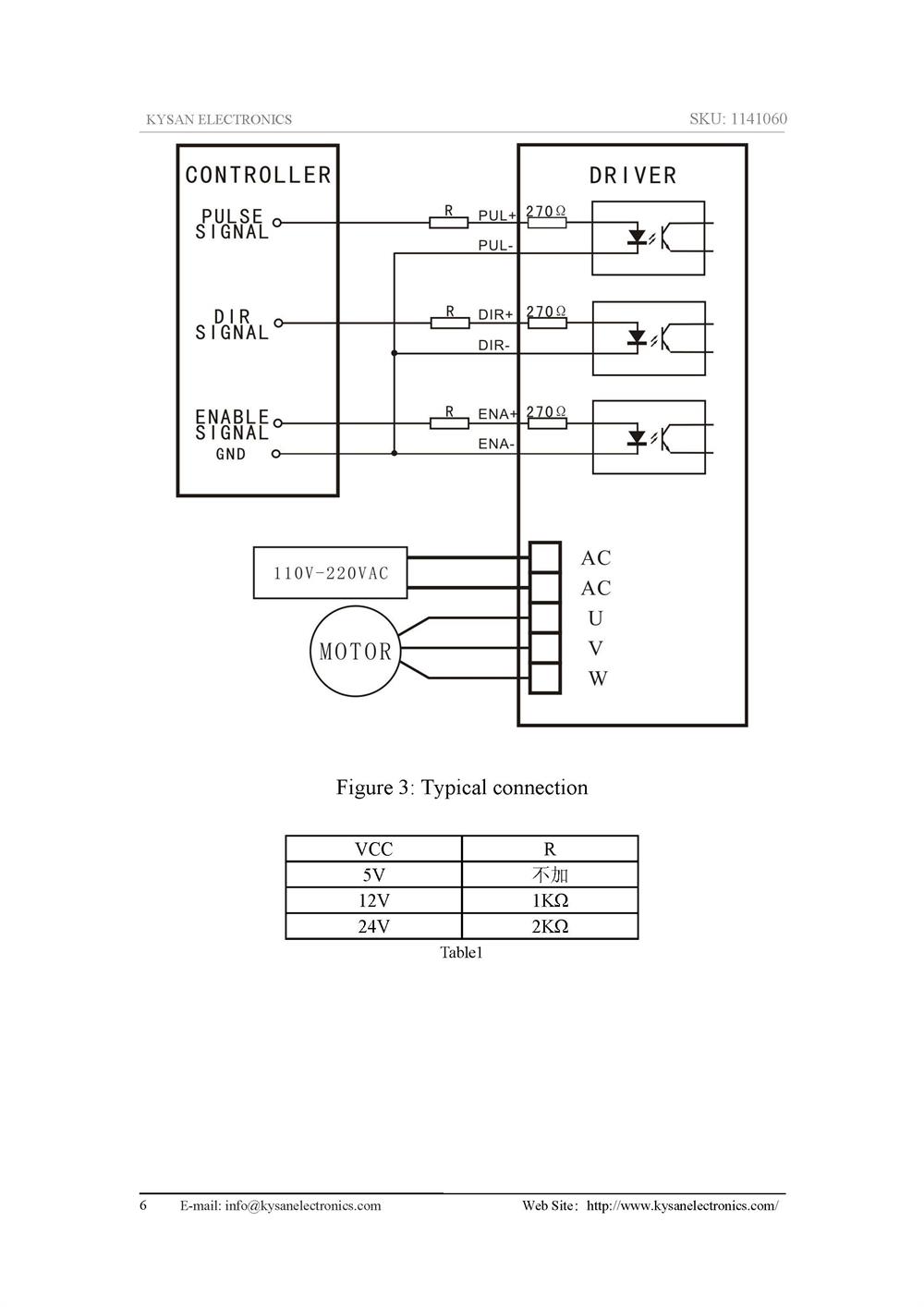
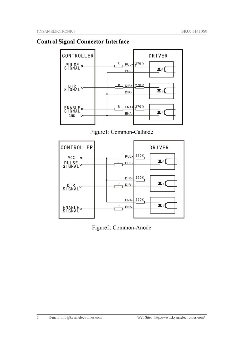
Stepper Motors
4684 Active
Data Group: 4684
SKU: 1141060
Weight (Kg): 2.0000
Decsription: CW2283
HS Code:
Applications:

©2003 KYSAN ELECTRONICS All Rights Reserved! www.kysanelectronics.com